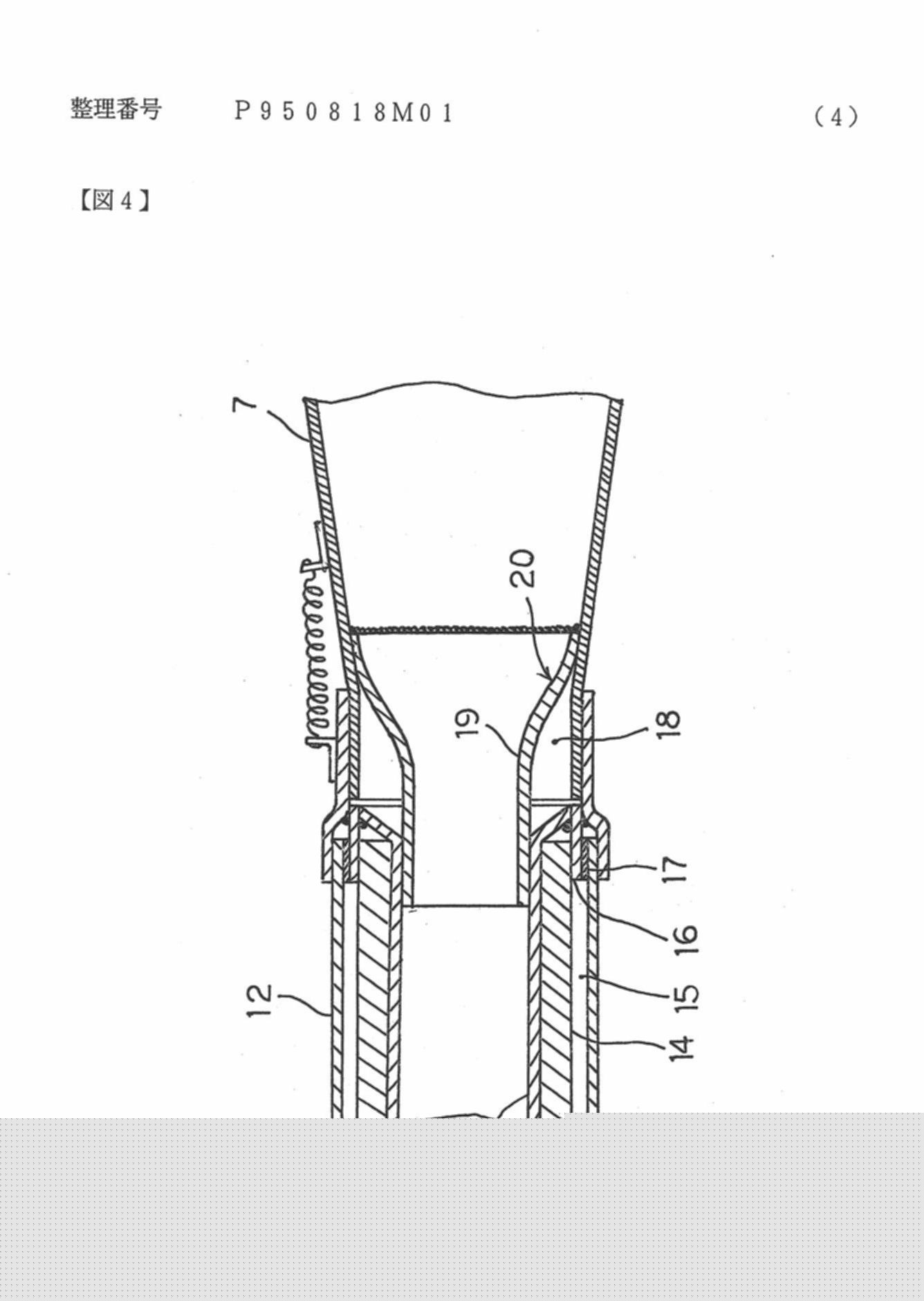
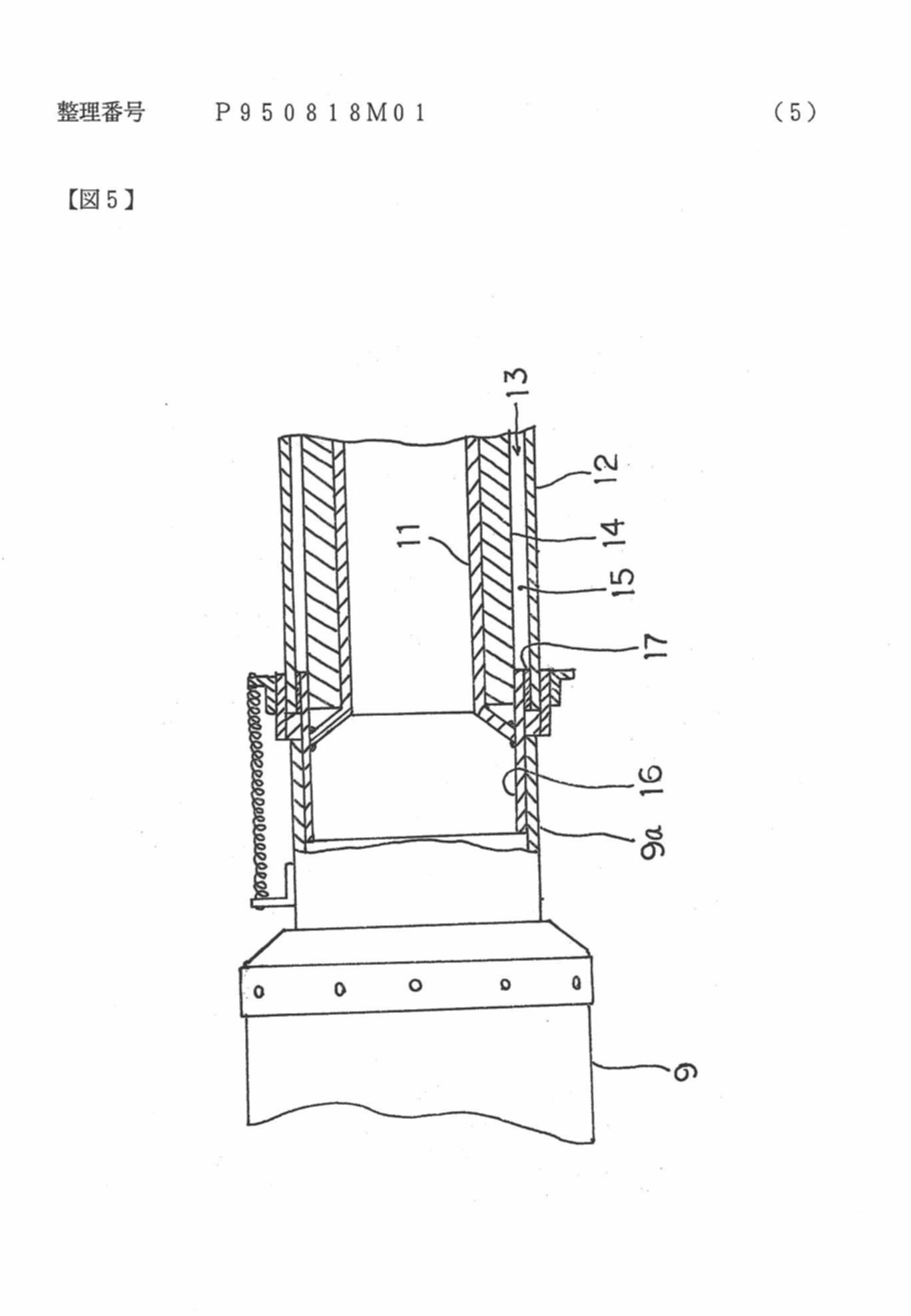
7 ステンレス集合部

9 カーボンサイレンサー

11 インナーセンターパイプ

12 カーボン樹脂

13 グラスファイバー

14 断熱セラミックマット

15 ニトフロンテープ

 

特許第3574879号